新年春意暖,赛鸽尽风流。继云南、广东多地春棚陆续启幕,江苏也紧随节奏进入春赛时间。1月2日,江苏爱翔赛鸽中心(春棚)80公里收费站拉开序幕,打响江苏地区春棚第一枪。
早晨7时58分,比赛在江苏省盐城市盐都区开笼,共集鸽11910羽。司放地天气晴,北风2级。一小时不到,大批赛鸽迅速归来。比赛直播>>
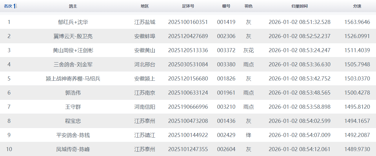
8时51分32秒,鸽友郁红兵+沈华的一羽2025100160351灰打钟报进,分速1563.9646米/分,获得收费站冠军。
8时52分52秒,鸽友翼博云天-殷卫亮的一羽2025120427689灰顺利报进,分速1526.0991米/分,获得亚军。
8时53分24秒,鸽友黄山周俊+汪剑彬的一羽2025120513336灰花顺利报进,分速1511.4039米/分,获得季军。
截至1月4日上午10时,11330羽赛鸽成功归巢,归巢率高达95.13%,获得大捷。
作为江苏地区口碑载道的老牌公棚,江苏爱翔赛鸽中心此前已成功举办16届秋赛,今年还是首次举办春赛。首届参赛费2600元/羽,决赛取奖800名,冠军奖金50万、亚军30万、季军20万,尾奖1.5万。收鸽2万羽,早在去年8月就已封棚。赛线选择西北线,决赛司放地山东泰安,后续将依次开展资格赛、热身赛、三关正赛,共计五场竞翔比拼。期待小将们在春赛中大展风采。

