冠军当日归四羽 长春千公里十年最好成绩

2023-05-30 11:35:25.0   (6285次)  作者:东北赛鸽

2023年长春市信鸽协会春季1000公里比赛,于27日5:26在内蒙古商都开笼,与吉林省国家赛暨全省联赛同场竞技。比赛共计参赛会员29人,集鸽153羽,其中包含6羽训放,赛区总羽数847羽。

司放地天气晴,沿途多云天气,气温23-29℃,西南风3-4级。下午16点49分,同场竞翔的四平市率先传来见鸽的喜讯;17点10分,长春开发区鼎鑫、长春奥翔俱乐部先后也传来到鸽的捷报。

18点31分15秒,长春市鸽会终于迎来第一羽归巢鸽报到。魏继东的2022-07-0468373灰雄,飞行空距1012.788公里,分速为1289.7614米/分,荣获长春市鸽会千公里当日归冠军。赵浩然的2022-07-0339663深雨点、金冠鸽舍-吕红卫的2021-07-0205503雨点先后相隔5分钟报到,分别获得亚军、季军。

晚上19点30分之后,冠军得主魏继东连续报到两羽赛鸽。半小时过后,20点29分,他又报进一羽赛鸽,一人当日归巢四羽赛鸽,分别获得冠军、4、5、6名。

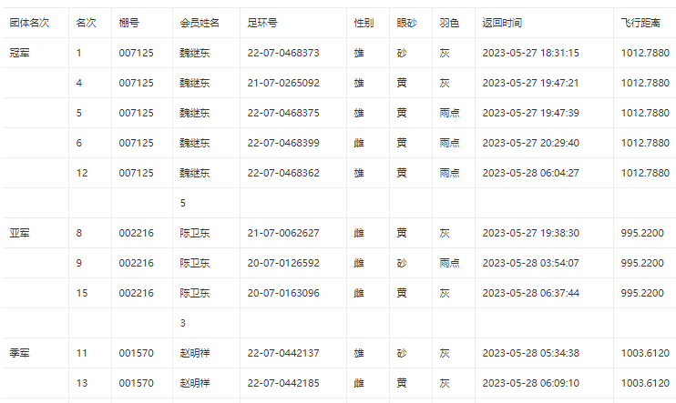
本次千公里比赛,长春市信鸽协会当日归巢8羽赛鸽,飞出了近10年来的最好成绩。魏继东归巢5羽赛鸽荣获团体冠军,陈卫东归巢3羽赛鸽获得团体亚军,赵明祥归巢2羽赛鸽获得团体季军。

团体成绩

长春市信鸽协会千公里成绩
冠军:魏继东的2022-07-0468373灰雄
亚军:赵浩然的2022-07-0339663深雨点
季军:金冠鸽舍-吕红卫的2021-07-0205503雨点

文章来源于网络