六千羽翻越六百公里秦岭 成都特比当日归两成

2023-04-18 09:57:51.0   (5527次)  作者:川渝鸽舍

4月17日,四川成都市信鸽协会“蓉城杯”春季一岁鸽特比鸽王赛第二关比赛,于早上6点36分在甘肃平凉放飞,空距600公里,上笼6056羽赛鸽。

成都市“蓉城杯”号称是难度最大的一岁鸽特比环大赛,要飞500、600、700公里三关中长距离赛事,并且川鸽赛线不同于平原地区,赛鸽需翻越秦岭,穿越大巴山山脉,才能安全到家。今年的比赛总计售环11885枚,增加名额957.72名,总录取1057.72名。

4月6日第一关500公里秦岭站比赛,放飞6999羽,归巢超6000羽,归巢率近90%,取得开门红,让大家对接下来的比赛充满了期待。17日一大早,6056羽赛鸽迎着朝阳,从甘肃平凉启程,向家的方向疾驰而去。

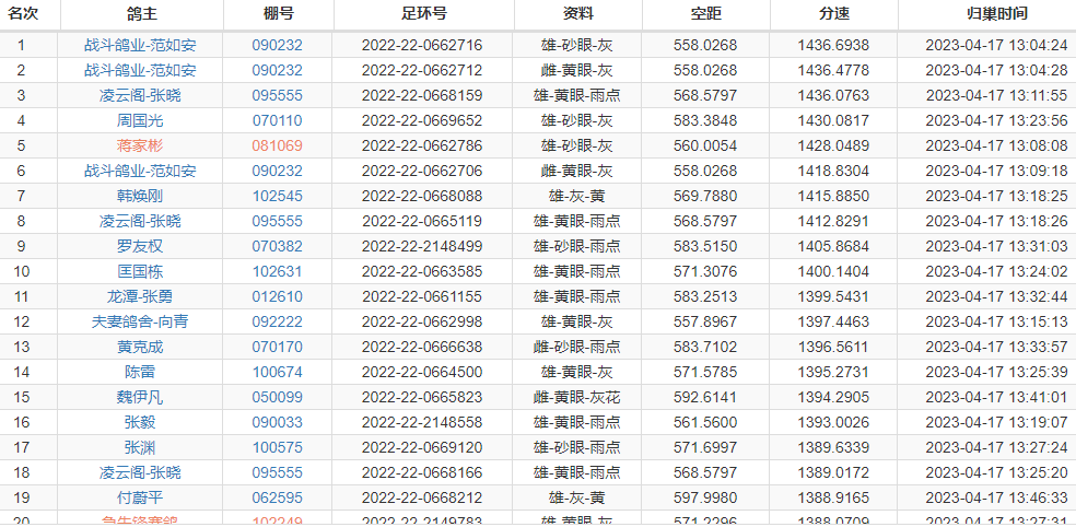
中午13点04分,战斗鸽业-范如安的2022-22-0662716、2022-22-0662712两羽赛鸽同时归来,暂列第二关比赛冠军、亚军,飞行空距558.0268公里,最高分速为1436.6938米/分。五分钟之后,战斗鸽业-范如安再次迎来一羽赛鸽归巢,暂排第六名。

凌云阁-张晓的2022-22-0668159黄眼雄鸽,飞行空距568.5797公里,分速为1436.0763米/分,暂列第三名。

比赛虽然飞出了1400米/分的高分速,但归巢是很艰难的,接近一小时才报到100来羽赛鸽。截至当天晚上20点01分,共计归巢1315羽赛鸽,当日归巢率21.7%。按照比赛规程,比赛次日继续报到,有效分速不低于360米/分。

第二关高位名次报到数据
第二关放飞现场截图

文章来源于网络