强!公棚决赛飞出2137米/分高分速

2022-05-14 13:33:34.0   (3708次)  作者:geyue

5月14日6时8分,张家口海源国际赛鸽公棚500公里决赛在阿尔善油田西开笼放飞,经度115°24′22.8″,纬度44°58′26.55″。比赛空距500公里,集鸽超过2000羽,当日天气晴朗。

 500公里决赛数据直播>>

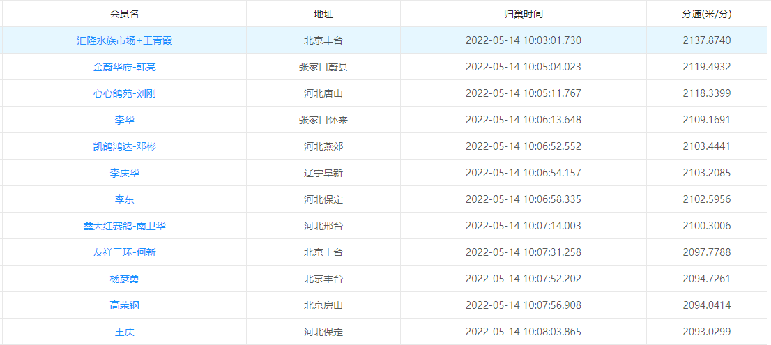
截至上午12时30分,已有901羽赛鸽归巢,4小时归巢率达33.77%,赛况良好。本次比赛聚集各路英雄赛鸽,战况激励,21羽赛鸽都飞出2000+的高分速,而汇隆水族市场+王青霞的一羽环号2021-01-0246319雨点信鸽,更是以2137.8740米/分的高分速傲视群雄,勇夺冠军!

本次决赛也是命运多舛,原定于5月12日集鸽,5月13日比赛,因放飞地内蒙阿尔善油田及沿途大风蓝色预警,更改为5月13日集鸽,5月14日比赛。时间的改动以及天气的影响对于赛鸽的归巢都是一个不小的影响。

后续赛鸽继续归巢中,让我们持续关注!


文章来源于网络